|
結構類型
|
|
|
AK-LC纜式液位變送器
AK-LR桿式液位變送器
AK-LD直裝式液位變送器
|
|
|
AK-LC外形尺寸
|
|
|
|
|
|
|
AK-LC纜式液位變送器
(普通形式連接)
1、變送器外殼
2、信號線纜接頭
3、傳感器電纜
4、傳感器外殼
5、傳感器
|
AK-LC纜式液位變送器
(外螺紋形式連接)
1、變送器外殼
2、信號線纜接頭
3、外螺紋G2
4、傳感器外殼
5、傳感器
|
AK-LC纜式液位變送器
(法蘭形式連接)
1、變送器外殼
2、信號線纜接頭
3、法蘭DN50、DN80、DN100
4、傳感器電纜
5、傳感器外殼
6、傳感器
|
|
AK-LD外形尺寸 AK-LR外形尺寸
|
|
|
|
|
|
YF-LD直裝式液位變送器
1、變送器外殼
2、信號線纜接頭
3、連接法蘭
|
YF-LR桿式液位變送器
(法蘭形式連接)
1、變送器外殼
2、信號線纜接頭
3、法蘭DN50、DN80、DN100
4、傳感器電纜
5、傳感器外殼
6、傳感器
|
YF-LR桿式液位變送器
(外螺紋形式連接)
1、變送器外殼
2、信號線纜接頭
3、外螺紋G2
4、傳感器外殼
5、傳感器
|
|
|
固定配件
|
|
|
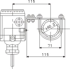
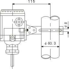
AK-LC/LR型纜式和桿式液位變送器具有多種安裝固定方式,以適應不同現場情況。當現場不能夠提供G2的內螺紋或法蘭等工藝設施時,可選擇普通形式的液位變送器,它有墻壁安裝式、水平管架式和垂直管架式等三種安裝方式可選擇,使您在現場安裝時得心應手。
|
|
 
墻壁安裝
[1-螺釘M5, 2-膨脹螺釘M8]
|
|

水平管架安裝
|
|

垂直管架安裝
|
|
|
配重和防護罩
|
|
|
在測量流動性較大的介質時,為防止傳感器劇烈擺動,用戶可選用配重附件,以起到穩定傳感器的作用。配重以法蘭形式提供(DN50、PN4.0MPa、GB116.7-88),用戶可以用螺栓將其固定于工藝設施。
在現場環境較惡劣時,用戶應選用傳感器防護罩來保護傳感器,以免被異物損壞或影響測量的準確性。
|
|
|
|
|
配重示意圖
1、傳感器外殼
2、螺釘M3
3、法蘭DN50
|
防護罩示意圖
1、傳感器外殼
2、螺釘M3
3、防護罩
|
|
|
法蘭尺寸
|
|
公稱通徑
DN
|
法蘭外徑
D
|
螺栓孔中
心圓直徑
K
|
螺栓孔徑
n
|
螺栓數量
|
螺栓尺寸
Th
|
密封面直徑
d
|
密封面高度
f
|
法蘭厚度
G
|
|
50
|
165
|
125
|
18
|
4
|
M16
|
99
|
3
|
20
|
|
80
|
200
|
160
|
18
|
8
|
M16
|
132
|
3
|
24
|
|
100
|
235
|
190
|
22
|
8
|
M20
|
156
|
3
|
24
|
|
|
靜壓式液位變送器標準量程表
|
|
壓力范圍
|
代號
|
滿量程調節范圍
|
允許過載(MPa)
|
|
0~10KPa
|
D3
|
1~10KPa
|
0.6
|
|
0~20KPa
|
D5
|
10~20KPa
|
0.6
|
|
0~40KPa
|
D7
|
12~40KPa
|
0.6
|
|
0~60KPa
|
D8
|
20~60KPa
|
0.6
|
|
0~100KPa
|
E1
|
30.0~100KPa
|
1.0
|
|
0~160KPa
|
E2
|
60.0~200KPa
|
1.0
|
|
0~200KPa
|
E3
|
60.0~200KPa
|
1.0
|
|
0~250KPa
|
E4
|
120.0~400KPa
|
1.0
|
|
0~400KPa
|
E5
|
120.0~400KPa
|
1.0
|
|
0~0.6MPa
|
F1
|
0.2~0.6MPa
|
2.0
|
|
0~1.0MPa
|
F2
|
0.3~1.0MPa
|
2.0
|
|
|
靜壓式液位變送器型號內容
|
|
|
類型
|
|
YF-L1C纜式陶瓷電容型
YF-L2C纜式擴散硅型
YF-L1R桿式陶瓷電容型
YF-L2R桿式擴散硅型
YF-L1D直裝式陶瓷電容型
YF-L2D直裝式擴散硅型
|
|
|
|
|
|
|
|
|
|
|
|
|
|
|
|
|
|
|
|
|
|
|
|
|
|
|
|
|
|
|
|
|
|
|
|
|
|
|
|
|
|
|
|
|
過程連接件材料
|
|
3
9
|
不銹鋼1Cr18Ni9Ti
特殊約定
|
|
|
|
|
|
|
|
|
|
|
|
|
|
|
|
|
|
|
|
|
|
|
|
|
|
|
|
|
|
|
|
|
|
|
|
|
|
|
|
|
|
|
過程連接方式
|
|
F
Z
Y
|
法蘭DN50 PN1.6MPa Gb9119
配安裝支架
特殊約定
|
|
|
|
|
|
|
|
|
|
|
|
|
|
|
|
|
|
|
|
|
|
|
|
|
|
|
|
|
|
|
|
|
|
|
|
|
|
過程連接材料
|
|
3
5
9
|
不銹鋼1Cr18Ni9Ni
丁腈橡膠與聚氯乙烯復合物
特殊約定材料
|
|
|
|
|
|
|
|
|
|
|
|
|
|
|
|
|
|
|
|
|
|
|
|
|
|
|
|
|
|
|
|
|
|
|
傳感器密封材料
|
|
1F
2F
9F
|
氟橡膠
丁腈橡膠
特殊要求
|
|
|
|
|
|
|
|
|
|
|
|
|
|
|
|
|
|
|
|
|
|
|
|
|
|
|
|
|
|
|
輸出信號
|
|
2
9
|
4~20mA二線
特殊約定
|
|
|
|
|
|
|
|
|
|
|
|
|
|
|
|
|
|
|
|
|
|
|
|
|
|
|
|
外殼類型
|
|
A
B
Y
|
鋁外殼無現場指示IP65
鋁外殼帶現場指示IP65(模擬顯示表)
特殊要求
|
|
|
|
|
|
|
|
|
|
|
|
|
|
|
|
|
|
|
|
|
|
|
|
精度等級
|
|
2
5
6
7
9
|
0.2
0.5
1.0
2.0
特殊要求
|
|
|
|
|
|
|
|
|
|
|
|
|
|
|
|
|
|
配重
|
|
H
Z
Y
|
無配重
標準配重
特別約定
|
|
|
|
|
|
|
|
|
|
|
|
|
|
|
|
|
|
|
|
安裝尺寸(單位)
|
|
|
|
|
|
|
|
|
|
|
|
|
|
|
|
|
量程代碼
|
|
|
|
|
|
|
|
|
|
|
|
|
|
附加功能
|
|
I
L
|
本安型ExiaⅡCT5
傳感器電纜長度(m)
|
|
|
|
|
|
|
|
|
AK-L1C
|
3
|
F
|
3
|
1F
|
2
|
B
|
5
|
H
|
|
D7
|
IL(5m)
|
|
選型舉例
|
|